【专利情报速递】佳能传感器位移技术最新公布专利
发布时间:2013.05.10 山西省查看:4192 评论:1
佳能传感器位移技术最新公布专利
情报来源:新摄影
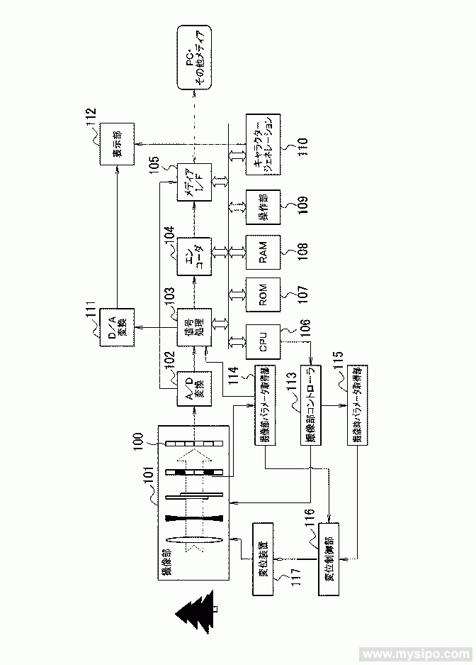
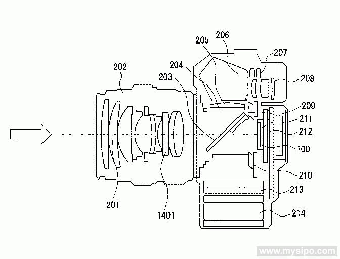
佳能传感器位移技术专利2013年4月22日公布,日本公开专利号:No.2013-74337。新技术让小尺寸传感器在一定范围内移动拍摄,最终合成得到一张高分辨率照片,从而让EF镜头在小尺寸传感器上也可获得与全画幅相机相同的效果。
No.2013-74337号专利详情:
公开日期:2013年4月22日
申请日期:2011年9月26日
详细信息(日文): http://egami.blog.so-net.ne.jp/2013-05-07
(英文)http://www4.ipdl.inpit.go.jp/Tokujitu/tjsogodbenk.ipdl
专利申请文件中的部分附图:
Fig. 1

Fig. 2

Fig. 4

Fig. 5

权利要求:
CLAIMS
[Claim 1]
It is the imaging device provided with imaging sensors which acquire an image of an object,
A parameter acquisition means which acquires a parameter about imaging,
A displacement control means to determine and control one of the amounts of displacement and displacement timing of a taking lens imaged to the aforementioned imaging sensors and the aforementioned imaging sensors, and the imaging device concerned based on a parameter acquired by the aforementioned parameter acquisition means,
An imaging device provided with a signal processing means which generates high resolution images using image data with positional displacement of two or more sheets which either the aforementioned imaging sensors, the aforementioned taking lens and the imaging device concerned were displaced under control by the aforementioned displacement control means, and was acquired with the aforementioned imaging sensors.
[Claim 2]
The imaging device according to claim 1, wherein sensor pitch information on the aforementioned imaging sensors is included in a parameter about the aforementioned imaging.
[Claim 3]
The imaging device according to claim 1 or 2, wherein super resolution magnification is contained in a parameter about the aforementioned imaging.
[Claim 4]
An imaging device of a description in any 1 item of Claims 1-3, wherein exposure time is included in a parameter about the aforementioned imaging.
[Claim 5]
It is an image processing system which performs super resolution processing using an imaging device provided with imaging sensors which acquire an image of an object,
A parameter acquisition means which acquires a parameter about imaging,
A displacement control means to determine and control one of the amounts of displacement and displacement timing of a taking lens and the aforementioned imaging device which are imaged to the aforementioned imaging sensors and the aforementioned imaging sensors based on a parameter acquired by the aforementioned parameter acquisition means,
An image processing system provided with a signal processing means which generates high resolution images using image data with positional displacement of two or more sheets which either the aforementioned imaging sensors, the aforementioned taking lens and the aforementioned imaging device were displaced under control by the aforementioned displacement control means, and was acquired with the aforementioned imaging sensors.
[Claim 6]
It is an image processing method which performs super resolution processing using an imaging device provided with imaging sensors which acquire an image of an object,
A step which acquires a parameter about imaging,
A step which determines one of the amounts of displacement and displacement timing of a taking lens and the aforementioned imaging device which are imaged to the aforementioned imaging sensors and the aforementioned imaging sensors based on a parameter which acquired [ aforementioned ],
A step which acquires image data which displaces either the aforementioned imaging sensors, the aforementioned taking lens and the aforementioned imaging device according to the amount of displacement and displacement timing which determined [ aforementioned ], and has positional displacement of two or more sheets with the aforementioned imaging sensors,
An image processing method having a step which generates high resolution images using image data with positional displacement of two or more aforementioned sheets.
[Claim 7]
It is a program for performing super resolution processing using an imaging device provided with imaging sensors which acquire an image of an object,
Processing which acquires a parameter about imaging,
Processing which determines one of the amounts of displacement and displacement timing of a taking lens and the aforementioned imaging device which are imaged to the aforementioned imaging sensors and the aforementioned imaging sensors based on a parameter which acquired [ aforementioned ],
Processing which acquires image data which displaces either the aforementioned imaging sensors, the aforementioned taking lens and the aforementioned imaging device according to the amount of displacement and displacement timing which determined [ aforementioned ], and has positional displacement of two or more sheets with the aforementioned imaging sensors,
A program for making a computer perform processing which generates high resolution images using image data with positional displacement of two or more aforementioned sheets.
NOTICES *
JPO and I**IT are not responsible for any
damages caused by the use of this translation.
1.This document has been translated by computer. So the translation may not reflect the original precisely.
2.**** shows the word which can not be translated.
3.In the drawings, any words are not translated
利用后期合成得到超高分辨率照片的做法早已存在,最为大家熟知的便是全景合成技术,另外还有Fotodiox最近推出的RhinoCam接口系统,该系统通过让索尼NEX相机在中画幅机身上平移拍摄,从而变身为中画幅数码后背。
新专利做法与RhinoCam类似,拍摄时传感器会在焦平面移动,优点在于不需要任何外接附件。缺点也显而易见,该技术仅适合风光、建筑等少数静态题材。但我们更关注隐藏在背后的科技,毕竟这是机身防抖技术的又一个延伸。
评论列表
快速回复
Joyce
[7]思博铁粉
主题:485 回帖:2570 积分:4688
热帖推荐
swr123
2013/07/05 10:25 [来自广东省]
0 举报