科普!手机巨头们的黑科技专利你知多少
发布时间:2015.07.23 北京市查看:2038 评论:1
【思博知识产权资讯】为了获得消费者的青睐,目前众多厂商均正在积极开发智能手机的创新体验环境。或许是近年来行业对专利的重视,创新体验环境开发和专利的积累成为了众多厂商重要的发展因素。然而,目前也有很多在产品上还没实现的“黑科技”手机专利。下面我们就谈谈一些或许在未来的产品中实现的手机专利。
苹果
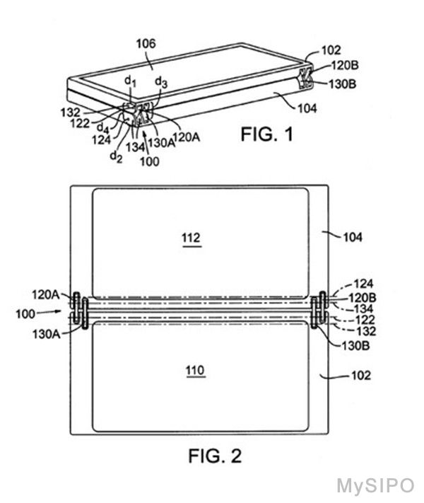
1.柔性电子设备
今年一月份,美国专利商标局(USPTO)批准了苹果申请的“柔性电子设备”专利,该技术允许苹果几乎全部使用柔性元器件生产便携设备如iPhone,使手机可以弯曲、折叠或扭曲,而内部敏感元件不受影响。
有了全柔性设备,苹果能使用现有传感器技术制定奇异的用户界面计划。例如,用户可挤压设备激活力量传感器,传感器反过来发出系统命令,打开一个应用或开关机。在设备基座包括显示器表面下可以布置任何数量的传感器,如磁场、光学、距离等传感器。专利提到了双稳弯曲带,让设备有2个或以上的标准配置。
2.电子设备外壳的陶瓷保护玻璃(蓝宝石玻璃屏)
去年11月中旬,美国专利和商标局公布的文件,苹果申请了名为“电子设备外壳的陶瓷保护玻璃”专利。该专利便是关于如何将蓝宝石玻璃安装至iPhone的技术。
该技术是采用激光烧蚀技术,将蓝宝石玻璃烧蚀成楔形以便安置在iPhone产品中。
3.扩展人机交互(隔空悬浮)
该专利显示,这项交互功能在不触摸设备的情况下,通过多传感器来识别、判断在设备前方的手势,去除过于敏感的错误识别,提高悬浮手势识别的准确率,从而实现更好的人机交互体验。虽说看着比较“高大上”,但只要我一解释你保准会“呵呵”一笑。
其实说白了也就是有来电时不用滑动接听,只需把手机贴近耳朵就能实现自动接听;把手机放在桌子上一个简单的手势就可以实现免提模式等等......这样的把戏似乎早就在Android手机玩滥了吧?不过我想苹果并不会把这个人机交互弄的这么简单,或许会有别出心裁的新花样,耐心等待吧。
4.双面手机专利
苹果于2011年提交了该专利的申请文件,在2013年3月左右曾有媒体对此进行报道。但直到近期,这项专利才正式属于苹果。
专利图片显示,一款弧面的iPhone手机配置了曲面的显示屏。这种设计提供了更大的显示空间,屏幕上每排可以显示5个应用图标。
支持这种弧面设计的可能是一种曲面的AMOLED显示屏。这种新型手机可能包含两块曲面显示屏,也就是说,这是一款“双面”的产品。第二块显示屏可以配合第一块显示屏来显示内容。
专利还指出,这种新型iPhone可以使用多个摄像头来追踪用户的面部姿态,从而相应地对显示效果进行调整。
微软
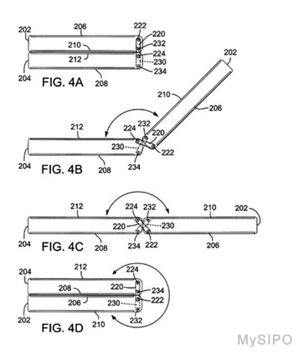
1.双屏翻盖专利
我们见过的翻盖手机,一般都把物理键盘安排在下半部分。不过从图纸的呈现的信息看来,的确没看到键盘的影子,手机的上下两部分似乎都是“屏幕”!难道是说,微软真是在做一款能够水平180度打开的“双屏幕手机”?
等等,脑洞开太大,思路有些跟不上对么?没关系,再倒回去一点,我们就能发现其中的端倪。在不久前的2015MWC上,Rytil曾经高度赞扬了自家SurfacePro3产品的创新性,并且表示Lumia系列手机的高低端两方市场并没有实现足够的差异化,并且团队正准备做出些“创新的未来产品”。
Rytil本人的原话是:“当提到高端手机时,我不认为5英寸屏幕的手机就应该是用户生活、娱乐、工作的归一点。我觉得有太多的方法来真正做出些挑战性的东西。”
是不是看出了些什么。果然微软的确不满足现在遍大街的“5寸街机”,试图做出些酷炫的新玩意,比如说拥有双屏幕的翻盖手机,新曝光的图纸便是最有力的证据。天呐噜,这要是能实现不就意味着“5寸+5寸=10寸”,我们甚至可以随手持握一款能够折叠的“长条屏幕”平板电脑。
2.手机膜+太阳光:微软申请新专利为屏幕消毒
经过各种实验曝光,手机屏幕大概是我们所接触最肮脏的表面,甚至比厕所马桶坐垫的细菌还多。微软最近就申请了一个专利,让一种装置自动为手机屏幕消毒。
虽然市面上已经有不少为手机消毒的装置,与它们相比,微软这项专利可以算得上黑科技了——使用一层透明薄膜,利用光的折射原理直接将太阳紫外线传送到整个屏幕,达到为屏幕甚至是手指消毒的效果,同时不影响屏幕本身的显示。
3. 用户观影时自动调低手机音量
该项专利可以监测到用户是否正在电影院观影,或者是否正准备入睡,从而自动将用户手机调至静音、低亮、不推送消息通知的免打扰状态(如题图所示),避免用户自己手动调节的烦恼,尤其是很多用户可能会忘记在影院中调低屏幕亮度。
此项专利的原理并不复杂,主要就是利用GPS、NFC、WiFi MAC地址或者传感器监测到的环境音量来判断用户是否正在观影,当然,用户的日历或者是浏览器内电影票的购买记录也是很重要的信息来源之一。只要综合以上这些数据,让手机自动进入/退出免打扰状态就很容易了。
4.“一拍即静”专利
大家都有过这样的经历,在某些特殊的时候,你的手机忘记静音了突然不合时宜的嗡嗡响了起来,你慌慌张张地赶紧掏出手机调成静音,往往由于手忙脚乱而到处出错,甚是尴尬。而微软的工程师们注意到这点,开发了如此贴心的设计,微软称之为“ whacking”(猛击)。
手机响时,你只要拍打一下你的手机,设备的加速器就会接受到“静音信号”,手机就会自动让“不合时宜”的铃声自动消失,从此再也不用担心手机没开静音了。
谷歌
1.模块化Android手机专利
毫无疑问,模块化Android手机“ARA”是谷歌当前最引人注目的项目之一。用户可以在它的“外骨骼”上快速地热插拔手机的各部分组件,彻底改变设备的硬件配置。这款手机的beta测试版有望于明年3月发布。
根据此前披露的信息,模块化手机ARA将运行定制版本的Android 5.0 Lollipop系统,它的大部分组件(除了处理器和屏幕)都支持热插拔。谷歌此前发布了开发者版的ARA手机,现在它已经成为了最受关注的一款Android设备,我们期待这款手机能够早日同我们见面。
谷歌日前向美国专利商标局提交了一份专利申请,根据公开文件显示,谷歌可能正计划用Chrombooks笔记本为只能手机提供无线充电功能。该专利名称为“感应式充电键盘”,专利发明人为Kenneth Ryan Loo和Kevin Tom。
根据专利文件解释,该专利把无线充电设备和键盘同时内置于一台主设备中,也就是说,在键盘中可以置入无线充电感应线圈,而这种感应线圈非常小巧,容易更换。当然为智能手机充电只是猜测,该专利也可用于反向操作,即利用无线供电装置为笔记本充电。
3.施加外力操作Android手机
谷歌专利文件显示,采用新专利技术,用户可以通过按压机身两侧、两侧相向方向搓动机身或者是弯曲机身等动作操控智能手机。“按压机身两侧”操作十分好理解,用手轻轻按住机身两侧即可而,“搓”则表示用户需要在机身两侧相反方向滑动手指,“弯曲机身”则需要将机身两侧向下用力弯曲,使机身呈拱形状即可。
除了手势操作方法之外,谷歌还展示了组合动作适用的特定应用程序。例如在电子邮件程序中,按压手机顶部则屏幕向上滚动,按压手机的底部则屏幕将向下滚动。页面滚动均为同一特定动作,只是操作需要不同挤压手机的部位也不尽相同;而在浏览器操作中,按压手机则表示开启新页面。弯曲机身操作则表示返回上一页面。
总结
有些黑科技由于太黑,太先进高冷而暂时无法被实际应用,只能呆在实验室中,比如微软的OmniTouch和IllumiShare,谷歌的太空电梯。
有一些黑科技比较亲民,更容易使用在消费者产品上,比如苹果的黑科技。苹果的黑科技或许没有那么“黑”,但它主要胜在让人触碰得到,并受到喜爱。我们希望这些黑科技能够快点洗白,投向市场。
来源:太平洋电脑网
查看资讯首页
苹果
1.柔性电子设备
今年一月份,美国专利商标局(USPTO)批准了苹果申请的“柔性电子设备”专利,该技术允许苹果几乎全部使用柔性元器件生产便携设备如iPhone,使手机可以弯曲、折叠或扭曲,而内部敏感元件不受影响。
![]()
有了全柔性设备,苹果能使用现有传感器技术制定奇异的用户界面计划。例如,用户可挤压设备激活力量传感器,传感器反过来发出系统命令,打开一个应用或开关机。在设备基座包括显示器表面下可以布置任何数量的传感器,如磁场、光学、距离等传感器。专利提到了双稳弯曲带,让设备有2个或以上的标准配置。
2.电子设备外壳的陶瓷保护玻璃(蓝宝石玻璃屏)
去年11月中旬,美国专利和商标局公布的文件,苹果申请了名为“电子设备外壳的陶瓷保护玻璃”专利。该专利便是关于如何将蓝宝石玻璃安装至iPhone的技术。
![]()
该技术是采用激光烧蚀技术,将蓝宝石玻璃烧蚀成楔形以便安置在iPhone产品中。
3.扩展人机交互(隔空悬浮)
该专利显示,这项交互功能在不触摸设备的情况下,通过多传感器来识别、判断在设备前方的手势,去除过于敏感的错误识别,提高悬浮手势识别的准确率,从而实现更好的人机交互体验。虽说看着比较“高大上”,但只要我一解释你保准会“呵呵”一笑。
![]()
其实说白了也就是有来电时不用滑动接听,只需把手机贴近耳朵就能实现自动接听;把手机放在桌子上一个简单的手势就可以实现免提模式等等......这样的把戏似乎早就在Android手机玩滥了吧?不过我想苹果并不会把这个人机交互弄的这么简单,或许会有别出心裁的新花样,耐心等待吧。
4.双面手机专利
苹果于2011年提交了该专利的申请文件,在2013年3月左右曾有媒体对此进行报道。但直到近期,这项专利才正式属于苹果。
专利图片显示,一款弧面的iPhone手机配置了曲面的显示屏。这种设计提供了更大的显示空间,屏幕上每排可以显示5个应用图标。
![]()
支持这种弧面设计的可能是一种曲面的AMOLED显示屏。这种新型手机可能包含两块曲面显示屏,也就是说,这是一款“双面”的产品。第二块显示屏可以配合第一块显示屏来显示内容。
专利还指出,这种新型iPhone可以使用多个摄像头来追踪用户的面部姿态,从而相应地对显示效果进行调整。
微软
1.双屏翻盖专利
我们见过的翻盖手机,一般都把物理键盘安排在下半部分。不过从图纸的呈现的信息看来,的确没看到键盘的影子,手机的上下两部分似乎都是“屏幕”!难道是说,微软真是在做一款能够水平180度打开的“双屏幕手机”?
![]()
等等,脑洞开太大,思路有些跟不上对么?没关系,再倒回去一点,我们就能发现其中的端倪。在不久前的2015MWC上,Rytil曾经高度赞扬了自家SurfacePro3产品的创新性,并且表示Lumia系列手机的高低端两方市场并没有实现足够的差异化,并且团队正准备做出些“创新的未来产品”。
![]()
Rytil本人的原话是:“当提到高端手机时,我不认为5英寸屏幕的手机就应该是用户生活、娱乐、工作的归一点。我觉得有太多的方法来真正做出些挑战性的东西。”
是不是看出了些什么。果然微软的确不满足现在遍大街的“5寸街机”,试图做出些酷炫的新玩意,比如说拥有双屏幕的翻盖手机,新曝光的图纸便是最有力的证据。天呐噜,这要是能实现不就意味着“5寸+5寸=10寸”,我们甚至可以随手持握一款能够折叠的“长条屏幕”平板电脑。
2.手机膜+太阳光:微软申请新专利为屏幕消毒
经过各种实验曝光,手机屏幕大概是我们所接触最肮脏的表面,甚至比厕所马桶坐垫的细菌还多。微软最近就申请了一个专利,让一种装置自动为手机屏幕消毒。
![]()
虽然市面上已经有不少为手机消毒的装置,与它们相比,微软这项专利可以算得上黑科技了——使用一层透明薄膜,利用光的折射原理直接将太阳紫外线传送到整个屏幕,达到为屏幕甚至是手指消毒的效果,同时不影响屏幕本身的显示。
3. 用户观影时自动调低手机音量
该项专利可以监测到用户是否正在电影院观影,或者是否正准备入睡,从而自动将用户手机调至静音、低亮、不推送消息通知的免打扰状态(如题图所示),避免用户自己手动调节的烦恼,尤其是很多用户可能会忘记在影院中调低屏幕亮度。
![]()
此项专利的原理并不复杂,主要就是利用GPS、NFC、WiFi MAC地址或者传感器监测到的环境音量来判断用户是否正在观影,当然,用户的日历或者是浏览器内电影票的购买记录也是很重要的信息来源之一。只要综合以上这些数据,让手机自动进入/退出免打扰状态就很容易了。
4.“一拍即静”专利
大家都有过这样的经历,在某些特殊的时候,你的手机忘记静音了突然不合时宜的嗡嗡响了起来,你慌慌张张地赶紧掏出手机调成静音,往往由于手忙脚乱而到处出错,甚是尴尬。而微软的工程师们注意到这点,开发了如此贴心的设计,微软称之为“ whacking”(猛击)。
![]()
手机响时,你只要拍打一下你的手机,设备的加速器就会接受到“静音信号”,手机就会自动让“不合时宜”的铃声自动消失,从此再也不用担心手机没开静音了。
谷歌
1.模块化Android手机专利
毫无疑问,模块化Android手机“ARA”是谷歌当前最引人注目的项目之一。用户可以在它的“外骨骼”上快速地热插拔手机的各部分组件,彻底改变设备的硬件配置。这款手机的beta测试版有望于明年3月发布。
![]()
根据此前披露的信息,模块化手机ARA将运行定制版本的Android 5.0 Lollipop系统,它的大部分组件(除了处理器和屏幕)都支持热插拔。谷歌此前发布了开发者版的ARA手机,现在它已经成为了最受关注的一款Android设备,我们期待这款手机能够早日同我们见面。
![]()
谷歌日前向美国专利商标局提交了一份专利申请,根据公开文件显示,谷歌可能正计划用Chrombooks笔记本为只能手机提供无线充电功能。该专利名称为“感应式充电键盘”,专利发明人为Kenneth Ryan Loo和Kevin Tom。
根据专利文件解释,该专利把无线充电设备和键盘同时内置于一台主设备中,也就是说,在键盘中可以置入无线充电感应线圈,而这种感应线圈非常小巧,容易更换。当然为智能手机充电只是猜测,该专利也可用于反向操作,即利用无线供电装置为笔记本充电。
3.施加外力操作Android手机
谷歌专利文件显示,采用新专利技术,用户可以通过按压机身两侧、两侧相向方向搓动机身或者是弯曲机身等动作操控智能手机。“按压机身两侧”操作十分好理解,用手轻轻按住机身两侧即可而,“搓”则表示用户需要在机身两侧相反方向滑动手指,“弯曲机身”则需要将机身两侧向下用力弯曲,使机身呈拱形状即可。
除了手势操作方法之外,谷歌还展示了组合动作适用的特定应用程序。例如在电子邮件程序中,按压手机顶部则屏幕向上滚动,按压手机的底部则屏幕将向下滚动。页面滚动均为同一特定动作,只是操作需要不同挤压手机的部位也不尽相同;而在浏览器操作中,按压手机则表示开启新页面。弯曲机身操作则表示返回上一页面。
总结
有些黑科技由于太黑,太先进高冷而暂时无法被实际应用,只能呆在实验室中,比如微软的OmniTouch和IllumiShare,谷歌的太空电梯。
有一些黑科技比较亲民,更容易使用在消费者产品上,比如苹果的黑科技。苹果的黑科技或许没有那么“黑”,但它主要胜在让人触碰得到,并受到喜爱。我们希望这些黑科技能够快点洗白,投向市场。
来源:太平洋电脑网
查看资讯首页
评论列表
快速回复
AlexFincher
大版主
[未知属地]
主题:3790 回帖:4674 积分:21527
热帖推荐
shield7
2015/07/24 08:19 [来自广东省]
0 举报