苹果耳机新专利:利用传感器控制音乐播放开关
发布时间:2014.05.30 北京市查看:2761 评论:1

5月30日消息,据国外媒体报道,昨天苹果公司对外公布收购耳机制造商Beats,随后美国专利和商标局公布了苹果的两项新的耳机专利。该专利所描述的耳机,可以通过内置的传感器来感知用户收听音乐的状态,从而自动调节播放开关。
这两项专利名称分别为:“在降噪耳机中监测耳机位置”和“具备流媒体控制功能的电子设备和配件”。
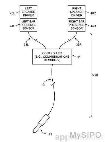
第一项专利为通过耳机减噪技术,使得传感器准确判断出用户的耳机是否已经从耳朵上移除。该技术需要多个传感器,其中包括了加速度传感器、电容式触摸传感器、超声波传感器、声学传感器和触摸传感器。上月苹果申请了一项耳机降噪专利:通过内置在耳机中的加速器和麦克风来屏蔽周围环境噪音。
第二项专利跟第一项专利相似,但是增加了一项新的功能:利用传感器控制音乐播放开关。当传感器检测出耳机已从用户耳朵上移除后,设备音乐会自动停止;当耳机又重新插入到用户耳朵时,又会自动播放流媒体音乐。
这两项耳机专利被描述为可以实现“双赢”。对于用户来说,可以在不需要播放音乐的情况下,为其节省数据流量。对于运营商来说,减少因为播放来自第三方应用的歌曲而带来的浪费的费用,对于他们也是利好的。


来源:techweb
评论列表
快速回复
西日艾力
[6]思博省省长
主题:520 回帖:623 积分:1543
热帖推荐
zhuanlidlzuo
2014/05/30 15:08 [来自山西省]
0 举报