Google Glass死透了?慢着,它可能要借这个新专利还魂
发布时间:2016.08.19 北京市查看:1776 评论:1
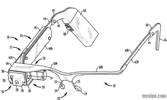
昨日, Google在悄无声息之中注册了新的Google Glass设计专利,其中透露出了不少第二代产品可能会具备的新特性。

首先,根据专利信息,第二代Google Glass很可能会右侧镜腿加入一个更大的触控板。
初代的Google Glass因为操控不方便曾备受诟病,而这个新部件将支持更加复杂和自然的交互方式,并将有可能解决易用性不佳的问题。
而在右侧镜脚处会有一个更大的空间,其中可能会植入处理器、RAM、蓝牙等部件。据专利信息,Google Glass很可能将同时具备连接蜂窝网络与Wi-Fi的能力。
此外,这样的设计也将平衡眼睛的前后重量,不至于前侧重量太大,压迫鼻梁,使佩戴更舒适。

而专利中最奇怪的信息要数电池了。
电池仓将会被安放在右侧镜腿处, Google宣称这个电池仓将支持一次性的5号电池、7号电池、9伏电池,还能支持可充电的锂电池或镍镉电池。
从字面意义上看,用户既可以充电,也可以使用在路边便利店里出售的电池,而如果使用后者,你可以一直带着眼镜,而不需要时常摘下充电,这也另辟蹊径解决了续航差,需反复充电的问题。
而这已经不是 Google 首次披露Google Glass的传闻。之前曾有消息称,Google Glass将来的重点将是企业用户而不再是广大消费者。

而去年12月的一份新的FCC文件表明这个企业版Google Glass将可以折叠,将有更耐用的设计,棱镜显示器面积比第一代Google Glass更大。测试照片还透露了磁性电池接口,以及一个英特尔Atom处理器芯片。

虽然我们还不清楚Google Glass 2代的具体参数和设计,但有一点可以确定,Google还没放弃这个产品线,而且可能对它有很大的期望,就像它在Google Glass官方网站上写的:
旅程不会就此终结。
来源:爱范儿

评论列表
快速回复
吾木
[7]思博铁粉
主题:616 回帖:1239 积分:9740
热帖推荐
InnoPatman
2016/08/19 12:29 [来自中国台湾]
0 举报