14起诉讼,从知识产权贯标服务纠纷,到有经济犯罪嫌疑,警方已立案
发布时间:2020.12.17 北京市查看:1956 评论:1
昨天,判决书网站公开一份裁定书,涉及知识产权贯标服务纠纷。
原告,要求被告支付尾款20w。
被告,反称原告未提供服务,且伪造被告的公章。
法院,经审查认为有经济犯罪嫌疑,驳回原告起诉。
警方,已立案。
全是公开信息,纯转发不评论,安静吃瓜,吃瓜不语。




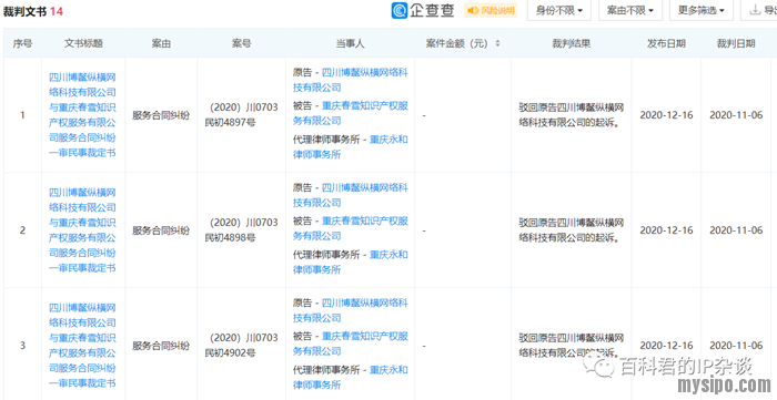
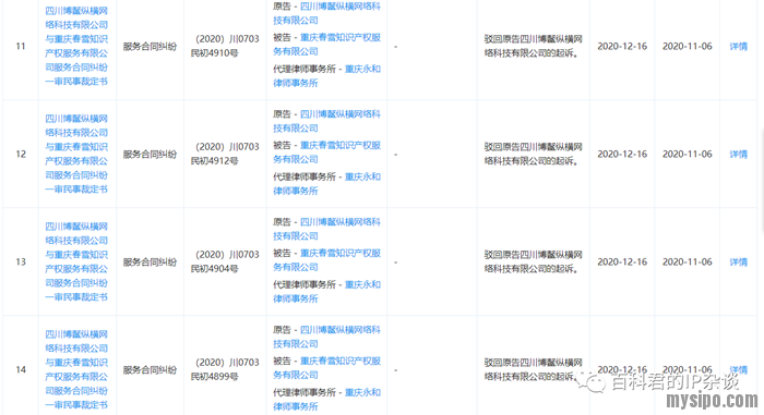
后来发现,这样的裁定书,不是一份,是14份!
涉及14个合同编号,裁定书内容基本一致。




评论列表
快速回复
IP之声
版主
[北京市]
主题:1489 回帖:1587 积分:7938
热帖推荐
乐俊0572
2020/12/17 22:04 [来自上海市]
0 举报