苹果手写笔 更加方便准确
发布时间:2015.01.05 北京市查看:2025 评论:0
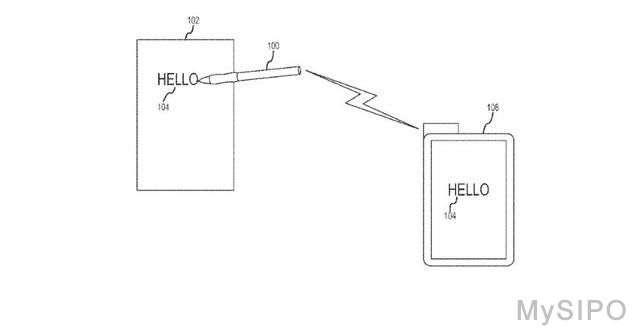
【思博知识产权资讯】近日,美国专利和商标局在本周批准了苹果所申请的一项“通讯手写笔”专利,该装置可以在用户绘画或书写时追踪自己的位置,并将写/画出的内容持续传输至数字设备上。

据悉,苹果这种手写笔内置加速器、无线通讯芯片,以及闪存存储,能够通过探测用户的手部运动,将写出的文字和线条转换为电子文档,并且在另一部iOS设备上显示。
这种笔的笔端由多个微型尖端构成,内置的加速器和三维运动传感器负责追踪笔尖的移动轨迹。其中,加速器能够感知手写笔是否处于使用状态,而三维运动传感器则通过移动气流和笔尖与平面接触点的位移,追踪书写轨迹。

根据专利的描述,该手写笔可用在任何表面,包括普通的纸张或白板。“当用户在书写或绘画时,手写笔会追踪自己不同的位置,然后将数据存储起来以便随后进行上传,或是将数据同步传输至计算设备,计算设备随后会显示出用户画出的图像或写出的内容。”专利中这样写道,“计算设备并不需要和手写笔放在一起,只要两者能够进行通讯。”
目前的市场上已经有不少功能相似的产品在售了,但不像苹果这件专利,可以在任何表面上书写。相似的产品还存在精确度不够,并需要特殊的纸张等情况,精确的手写笔问世将大大方便人们的工作和学习。
给你提个醒——查看资讯首页
评论列表
- 暂无评论数据
快速回复
付山y
[7]思博铁粉
主题:1753 回帖:2454 积分:8263
热帖推荐
分享
收藏
点赞
举报