加载中...
推荐位 推荐位

【原创】从格力诉美的专利侵权案谈等同侵权判定的综合把握

发布时间:2014.07.24 北京市查看:8938 评论:39

本帖最后由 心语 于 2014-7-24 11:02 编辑

从格力诉美的专利侵权案谈等同侵权判定的综合把握

作者:鹿士杰 毛习文 宋献涛


    珠海格力电器股份有限公司(下称格力)于2006年9月11日提出了名为“可拆装式空调室内机管路安装挡板”的实用新型专利申请,于2007年9月12日得到授权(下称挡板专利)。2012年,格力以广东美的制冷设备有限公司(下称美的)侵犯挡板专利权为由,向珠海中院提起诉讼。美的当然不甘束手就擒,向复审委提出无效宣告请求。2013年5月,复审委做出第20624号无效决定,维持挡板专利有效。美的以无效程序中使用的三份对比文件作为防守武器,在司法审判程序中提出现有技术抗辩。2013年6月,珠海中院认定美的产品构成等同侵权,现有技术抗辩不成立,判令美的赔偿格力经济损失95万元【1】。美的不服,上诉至广东高院。2014年2月,广东高院认定美的产品不构成等同侵权,撤销一审判决【2】。

    透过本案,可以引发一系列的思考:如果诉讼双方对权利要求中的某一技术特征存在争议,是否只有在争议特征含义不明确的前提下才可以结合说明书进行解释?对于同样的事实,为何一二审法院的等同判定结论截然相反?通过等同原则扩张保护范围的度应该如何把握,与专利审查中的哪些概念有关联?如果专利被无效,侵权诉讼自然失去了基础,但如果维持有效,对侵权诉讼有何影响?同样的对比文件,在专利行政审查程序中未能破坏掉挡板专利的新颖性或创造性,是否说明在法院难以促成现有技术抗辩?


挡板专利和被控侵权产品的粗略印象

    挡板专利的权利要求1为:

    一种可拆装式空调室内机管路安装挡板,其特征在于,其包括固定板和滑动板,该固定板为一中空的薄板,在固定板一面有两个滑轨,两滑轨间距大于或等于滑动板宽度,滑动板卡在两滑轨之间。

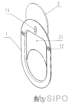
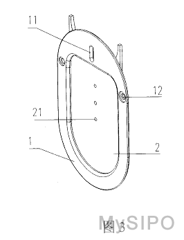
    为便于直观理解,我们来看下面三幅图,图1是安装管路时挡板的正视图,图2是安装管路时挡板的背视图,图3是没有管路时将滑动板取下翻转180度再装入固定板的背视图,1表示固定板,2表示滑动板,12表示定位孔,13表示滑轨。

         


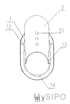
    被控侵权产品如下面六幅图所示:

      


      


      


权利要求的解释能否脱离说明书?

    专利侵权判定包括两个步骤:第一步解释涉案专利的权利要求,确定专利权的保护范围;第二步比较被控侵权方案与确定的保护范围,判断是否构成侵权。第一步被称为权利要求的解释,属于法律问题,即,通过研究专利档案资料,分析得出权利要求的保护范围。第二步涉及相同侵权和等同侵权的判断,一般被认为是事实问题。这两个步骤共同作用,对专利权实现合理的保护。在第一步中,权利要求的保护范围是依据文字材料来确定的,故比较“虚”,容易引发争议。

    本案就遇到了这样的问题,美的辩称一审法院未能正确解释权利要求中的“滑动板”,因此确定的保护范围是错误的。二审法院认为,在权利要求内容不明确的情况下,说明书及附图可以用于解释权利要求的内容,而挡板专利权利要求中“滑动板”的含义是明确的,此时应当根据权利要求的内容确定保护范围,因此,被诉侵权产品技术特征1中具备滑动板,与挡板专利相应技术特征滑动板相同。

    可见,二审法院的逻辑是:如果争议特征本身的字面含义明确,就没必要结合说明书进行解释,只有含义不明确时,才需要结合说明书进行解释。

    笔者认为这是一个伪命题。依据最高人民法院(2009)21号司法解释第三条的逻辑,如果争议特征具有明确的含义,则其应当符合本领域普通技术人员的通常理解,那么就应当提供外部证据(如工具书、教科书等公知文献)来证明通常理解为何。如果通常理解与说明书的解释一致,则外部证据支持了说明书的解释;如果通常理解与说明书的解释不一致,则内部证据优先,应采用说明书的解释。即,无论如何,结合说明书进行解释都不会犯错。最高人民法院在墨盒案第二季中曾经专门对此发表过意见【3】:

    权利要求由语言文字表达形成,通过记载解决技术问题的必要技术特征的方式来描述和反映发明的技术方案,清楚、简要地表述请求保护的范围。任何语言只有置于特定语境中才能得到理解。同时,基于语言表达的局限性和文字篇幅的限制,权利要求不可能对发明所涉及的全部问题表述无遗,需要通过说明书对要求保护的技术方案的技术领域、背景技术、发明内容、附图及具体实施方式等加以说明。为此,专利法明确规定了权利要求书和说明书之间的关系,要求说明书应该充分公开发明的技术方案,使得所属技术领域的技术人员能够实现;权利要求书应当以说明书为依据,清楚、简要地限定要求专利保护的范围。在专利法的上述法定要求下,说明书记载的上述内容对于理解权利要求含义更是不可或缺,两者具有法律意义上的密切关联性。说明书的上述内容构成权利要求所处的语境或者上下文,只有结合说明书的记载,才能正确理解权利要求的含义。在这一意义上,说明书乃权利要求之母,不参考说明书及其附图,仅仅通过阅读权利要求书即可正确理解权利要求及其用语的含义,在通常情况下是不可能的。权利要求的解释就是理解和确定权利要求含义的过程。在这个过程中,必须结合说明书及其附图才能正确解释权利要求。

    美国联邦最高法院早在1940年就斩钉截铁地指出“权利要求永远都需要按照说明书来解读或解释”【4】,联邦巡回上诉法院(CAFC)在1982年和2001年两度重申“权利要求永远都必须按照说明书来解读”【5】,“权利要求指向说明书中描述的发明,脱离其产生的环境,权利要求将变得毫无意义”【6】。

    欧洲专利公约第六十九条第一款规定“说明书及附图应当用于解释权利要求”【7】。欧洲立法者特地说明,解释权利要求应谨防两个极端:一个极端是将权利要求严格定义在字面上,只在权利要求出现含糊时才求助于说明书;另一极端是把权利要求当成一个大概的指引,其保护范围可以扩大到本领域人员在考虑说明书和附图后,专利权人所期待的任何范围。

    尹新天在《中国专利法详解》中澄清:“说明书及附图可以用于解释权利要求”中的“可以”一词表明本条仅仅以列举方式提到专利说明书和附图对权利要求的解释作用,而非穷举,换言之,并非仅仅只能用说明书和附图来解释权利要求。【8】

    综上,挡板专利权利要求中的“滑动板”必须结合说明书来解释。从图1-4及其文字描述可知,固定板1的一面上有两个滑轨13,这两个滑轨的作用是卡住滑动板2并使其上下移动,滑动板2的底部由卡扣14限位,当滑动板2移动到某一位置时,借助螺钉孔21和固定板螺钉孔11进行固定,固定板1可借助定位孔12固定到室内机机体上。

    被控侵权产品也有固定板和滑动板,但固定板的两边没有滑轨,取而代之的是上下两组共四个左右对称的卡扣,上部两个左右对称的卡扣内设有卡爪,滑动板中部两侧呈锯齿状,两组卡扣间距大于或等于滑动板宽度,两个卡爪的间距小于滑动板宽度,由于塑料材质的弹性,滑动板卡在两组卡扣及两个卡爪之间并固定住(不能上下移动)。

    从挡板专利说明书公开的内容来看,本领域技术人员没有理由想到将滑动板2的中部设计成锯齿状,一是加工费事,二是对于沿着滑轨13上下移动没有任何助益。取名“滑动板”也表明了与滑轨的配合,如果不需要跟滑轨配合,就应该取名为“活动板”或其它。由此可见,挡板专利权利要求1的技术方案采用滑动板和滑轨相配合的方式实现滑动板的上下移动,而被控侵权产品中,滑动板中部两侧呈锯齿状,从而装配时卡在两组卡扣及两个卡爪之间,此时是固定住的,不能上下移动,故二者采用不同的技术手段,解决不同的问题,取得的效果也不同。

    此外,对于“滑动板”,也可以从功能性限定的角度来理解,因为仅从“滑动板”这样的描述无法确定其结构。关于功能性限定,最高人民法院(2009)21号司法解释第四条规定,对于权利要求中以功能或者效果表述的技术特征,人民法院应当结合说明书和附图描述的该功能或者效果的具体实施方式及其等同的实施方式,确定该技术特征的内容。最高人民法院曾强调,并非所有以功能或者效果表述的技术特征均属于功能性特征,因为在同一技术领域中有很多已成熟技术的既定概念都使用了功能性的表述,如“变压器”、“放大镜”、“发动机”等,本领域技术人员能够明了这些概念所指的技术是如何实现的,其基本结构如何【9】。二审法院认为“滑动板的含义是明确的,此时应当根据权利要求的内容确定保护范围”,但并没有提供公知文献来证明本领域技术人员一看到这个概念就知道其基本结构(如果拿出这样的公知文献,是否可能暗示滑动板和滑轨配合也是公知的?那是否会动摇挡板专利的创造性?是否也暗示被告可以此进行现有技术抗辩?)。既然不能明确知道“滑动板”的基本结构,何谈“被诉侵权产品技术特征1中具备滑动板,与挡板专利相应技术特征滑动板相同”呢?

    还有,关于“可拆装”,其到底指挡板相对于室内机机体的拆卸/装配,还是挡板中的固定板和滑动板相互之间的拆卸/装配呢?如果是前者,则固定板1上的定位孔12是不可或缺的,如果是后者,那问题又来了:难道滑动板放入滑轨中就是装配,取出来就是拆卸?这似乎不符合“拆和装”的通常理解。从说明书的内容来看,滑轨对滑动板两侧限位并使之上下移动,但滑动板在固定板上实现“拆或装”,靠的是滑动板螺钉孔21和固定板螺钉孔11及螺钉。无论“可拆装”作何解释,挡板专利的权利要求1似乎都缺乏必要技术特征。在侵权程序中,法官不应质疑必要技术特征的问题,但对于“可拆装”,应结合说明书将其解释为通过固定板1上的定位孔12实现或者通过滑动板螺钉孔21和固定板螺钉孔11及螺钉来实现。在此解释下,被控侵权产品中找不到对应的特征,不满足全面覆盖原则【10】,从而导致等同判定的比对失去基础。

    笔者粗略浏览了本案的无效审查档案,发现专利权人在意见陈述中多次用粗体加下划线的方式反复强调本专利挡板为“可拆装式”,这相当于明确放弃任何“不可拆卸”的技术方案,而法院认定被诉侵权物安装之后的拆卸过程中卡爪被破坏,无法正常使用,因此正好是放弃的内容。笔者认为,这属于禁止反悔的典型。

审查历史档案中专利权人的意见陈述既可用于禁止反悔,也可用于解释权利要求,最终都能达到防止专利权人出尔反尔的效果。总的来看,笔者倾向于通过内部证据来确定挡板专利的保护范围是否能够涵盖被控侵权技术方案。

    笔者认为,在等同判定的时候,不能忘记专利法第五十九条强调的两点:专利权的保护范围以权利要求的内容为准,说明书和附图用于解释权利要求。“以权利要求的内容为准”要求我们遵循“字面限定”,“说明书和附图用于解释权利要求”要求我们从“公平原则”出发,只能有限度地做出“扩张”解释,将原本属于发明人的贡献纳入到专利权保护范围中,以切实保护专利权人的合法权益,但是,也不能肆意扩张到超出发明人的贡献而损害社会公众的利益。因此,必须坚守底线:权利要求扩张的最大范围不能超过“折衷”解释所确定的范围。

等同原则强调技术特征的等同还是技术方案的整体等同?

    侵权判定的第二步比较经过解释的权利要求的各个特征和被控侵权产品的对应特征,但等同的判断同样见仁见智。下面是一二审法院的特征比对情况和意见。


    一审法院将权利要求1划分为五个技术特征,从被控侵权产品中抽象出五个对应技术特征,然后进行比较。对于第1点和第2点,一审法院认定构成相同,值得注意的是,对于第3、4、5点,一审法院不是分别进行比较,而是将其打包进行比较,认定权利要求1中的特征和被控侵权产品中的对应特征构成等同。

    二审法院认为第1点既不相同、也不等同,认为第2点相同,二审法院同样是将第3、4、5点的特征打包进行比较,但认为不构成等同。

    一审法院不是比较挡板专利和被控侵权方案的对应特征是否等同,而是将二者上位概括成两侧限位,从而认定构成等同侵权,这实际是走了整体等同的歧途。

    等同原则源自美国,属于法官造法的产物,在一百多年的时间里走过了曲折的发展道路。上世纪八十年代,CAFC提出了整体等同理论【11】,联邦最高法院在1997年的Warner-Jenkinson案中彻底否定了整体等同理论,强调等同原则的考察对象是被控侵权技术方案中的个别技术特征和专利技术方案中的对应技术特征之间的等同,而不是被控侵权技术方案和专利技术方案之间的整体等同(as a whole)。

    整体等同的思想,在我国早期的专利侵权判定中随处可见,实际上,多余指定原则、非必要技术特征理论、变劣技术方案中都有整体等同的影子。为了与整体等同一刀两断,北京高院在万特福公司再审案【12】中强调:等同原则中,所谓“等同”是指具体技术特征之间的等同,而不是完整技术方案整体等同。这样的思想于2013年被北京高院写入《专利侵权判定指南》第49条。最高人民法院在再审申请人山西振东泰盛制药有限公司、山东特利尔营销策划有限公司医药分公司与被申请人胡小泉侵犯发明专利权纠纷案【13】中特别指出:所谓等同,是指被诉侵权技术方案中的技术特征与专利权利要求中记载的对应技术特征之间的等同,而不是指被诉侵权技术方案与专利权利要求所要求保护的技术方案之间的整体等同。

    在等同判定中,有时会出现这样的情形:专利技术方案和被诉侵权技术方案中的每一处对应特征都相差不大,但由于技术方案并非各技术特征的简单拼凑,而是所有特征协同作用而构成的有机整体,因此,多个貌似等同的特征组合之后,可能导致二者在整体上大相径庭,即整体不等同。例如,1+0.01=1.01和1-0.01=0.99的差别很小,几乎可以忽略不计,但1.01的365次方是37.78,而0.99的365次方却是0.0255,二者相差了近1500倍。

    总的来看,当被控侵权技术方案与专利技术方案遵循相同技术路线,即二者差异主要表现为量变而非质变时,等同判定比较准确,如果二者的技术路线不同或设计理念迥异,则不应硬进行特征比对,更不应纳入等同的范围。正是考虑到这种情形,北京高院《专利侵权判定指南》第53条规定:权利要求与被诉侵权技术方案存在多个等同特征的,如果该多个等同特征的叠加导致被诉侵权技术方案形成了与权利要求技术构思不同的技术方案,或者被诉侵权技术方案取得了预料不到的技术效果的,则一般不宜认定构成等同侵权。

    概言之,两个技术方案整体等同,未必构成等同侵权,只有各对应特征之间全部等同时,才构成等同侵权(如果不存在禁止反悔、捐献、现有技术抗辩的话);但反过来,如果两个技术方案整体不等同,则不构成等同侵权,而无需对各对应特征之间是否全部等同进行分析。鉴于我们平时比较两个对象一般都是采取“先整体后局部”的作法,故对于等同的判断,可以先比较两个方案是否整体等同,如果整体等同,还不能知道是否构成等同侵权,仍需比较各个对应特征后才能下结论,如果整体不等同,则应当立即做出不构成等同侵权的结论。

    因此,一审法院将第3、4、5点的特征打包进行比较,由整体等同得出构成等同侵权的结论,是不正确的,二审法院将特征第3、4、5点的特征打包进行比较,由整体不等同得出不构成等同侵权的结论,是正确的。

合理概括和等同判定的关系

    一审法院将挡板专利和被控侵权方案采用的手段概括为两侧限位,其言下之意是,挡板专利的保护范围不限于滑动板和滑轨配合,可以涵盖任何两侧限位的实施方式。笔者认为,概括是指在撰写权利要求时对说明书的实施例进行概括,而不能在权利要求的基础上,看到被控侵权方案后,再进行一次概括。

    关于概括,《审查指南》规定:权利要求概括的最大范围是说明书中的具体实施方式及其所有等同替代方式或明显变型方式【14】。在一份高质量的专利文件中,权利要求应该对各种具体实施方式进行了合理的概括,从而能够涵盖等同替代方式或明显变型方式,所以在专利侵权诉讼中诉诸字面侵权已经足矣,无需等同侵权出马。然而,对于撰写质量不高的情形,权利要求可能跟说明书中的具体实施方式没有太大差别,字面上不能涵盖无实质性差异的改变,等同原则突破了权利要求的字面范围,但也只是涵盖到技术特征的替代,而不是所有等同替代方式或明显变型方式,因此,等同侵权的最大空间只是合理概括范围的一个子集,而非全部,更不能超越之。

    概言之,被控侵权方案落入挡板专利的最大合理概括范围,未必构成等同侵权,但如果未落入,则肯定不构成等同侵权。
《审查指南》还规定,对于权利要求概括得是否恰当,审查员应当参照与之相关的现有技术进行判断,开拓性发明可以比改进发明有更宽的概括范围【15】。《审查指南》关于创造性的章节中对何为开拓性发明进行了举例说明【16】。挡板专利显然不能与所例举的开拓性发明相提并论。笔者没有进行检索,但从日常生活经验出发,感觉其属于惯常设计,例如,推拉窗、飞机舷窗的遮阳板、保护照相机镜头的滑动盖等也是采用相同的原理和结构,虽然存在技术领域差异,但似乎属于容易想到的转用发明创造,故挡板专利只是一个创造性很低的改进性实用新型专利,其概括范围很有限,相应地,其等同范围更加有限,不可以随意扩张。

    在两侧限位的范围内,滑动板可以上下移动,也可以上下定位。对于两侧限位上下移动,可以通过滑轨来实现,也可以通过其他方式来实现。对于滑轨实现两侧限位上下移动,可以采用挡板专利的具体实施方式,也可以采用相反的方式,即,滑动板的宽度大于滑轨的宽度,从而使滑动板的两侧边缘卡住滑轨(类似于手机后盖上下滑动打开)。

    基于挡板专利说明书中描述的具体实施方式,如果独立权利要求概括为“滑动板的左右两侧在限位机构的约束下可上下移动”,在审查中或许可以说服审查员,因为滑动板的两侧边缘卡住滑轨保持上下移动和说明书实施例遵循了相同的技术路线---滑动板和滑轨相配合,只是宽度关系正好相反而已,并且,除了滑轨,能保持滑动板上下移动的其它限位机构也是可能的。但无论如何,此上位概括显然无法涵盖“滑动板两侧限位并上下定位”的情形。

    如果像挡板专利权利要求一样未能进行上述概括,那么在侵权程序中,“滑动板的宽度大于滑轨的宽度,从而使滑动板的两侧边缘卡住滑轨”不构成等同,因为权利要求的用语“两滑轨间距大于或等于滑动板宽度,滑动板卡在两滑轨之间”已经明确地将相反的情形排除在专利保护范围之外,专利权人在侵权诉讼中不可以随意突破这样的明确限定,法院可以径直以不符合全面覆盖原则得出不构成侵权的结论,无需劳驾等同原则。

    对于本案而言,原本可以在撰写时通过上位概括纳入保护的技术方案在侵权程序中都还无法被归为等同,举轻以明重,无法通过上位概括纳入保护的技术方案更不能被归为等同,因此,一审法院将挡板专利和被控侵权方案概括为两侧限位的手段由此认定等同的作法,值得商榷。

等同判定和创造性评价、现有技术抗辩的关系

    在向法院提出现有技术抗辩时,美的提供了三份日文专利文献,而在复审委的无效程序中,这三份日文专利文献(此外还有一份中国专利文献、一份欧洲专利文献、一份美国专利文献)曾被用于攻击挡板专利的新颖性和创造性。
在创造性评价过程中,审查员对申请和现有技术的方案均需要整体认识和把握,以判断有无技术启示【17】,这种整体观察赋予审查员以较大的自由度。

    关于等同,最高人民法院(2001)21号司法解释第十七条规定:等同特征是指与所记载的技术特征以基本相同的手段,实现基本相同的功能,达到基本相同的效果,并且本领域的普通技术人员无需经过创造性劳动就能够联想到的特征。

    关于现有技术抗辩,最高人民法院(2009)21号司法解释第十四条规定:被诉落入专利权保护范围的全部技术特征,与一项现有技术方案中的相应技术特征相同或者无实质性差异的,人民法院应当认定被诉侵权人实施的技术属于专利法第六十二条规定的现有技术。

    从带下划线的谨慎用词可以看出,不管在现有技术抗辩中还是在等同判定中,法官的裁量自由度都小于审查员在创造性评价中的自由度。国家知识产权局《专利侵权判定标准和假冒专利行为认定标准指引(征求意见稿)》将等同特征限于已知的常用技术要素的简单替换、产品部件位置的简单移动、技术特征的分解或者合并、方法步骤顺序的简单变化,这些都是创造性评价的简单情形。之所以如此限制司法审判的裁量空间,主要原因在于,与国家知识产权局的专利审查队伍相比,有专利侵权案件管辖权的法院遍布全国各地且数量众多,虽然北京有些法官具有审理专利行政案件的经验,可以精准地把握等同判定和现有技术抗辩的适用力度,但全国范围内绝大多数法官不一定能够掌握创造性审查的“真经”,因此不宜把创造性评价中的自由发挥度引入到等同判定和现有技术抗辩的审理中。

    对于本案,复审委在无效程序中关于挡板专利和对比文件差异的创造性分析,可以作为法院的辅助线参考,因为法院在分析挡板专利和被控侵权方案的差异而认定是否构成等同的时候,裁量的自由度不应达到、更不能超过复审委评价创造性的力度。
既然这三份日文专利文献未能在无效程序中破坏挡板专利的创造性,可以确定它们必然未落入挡板专利的保护范围,并且与专利之间的地带还比较大,故不存在被控侵权产品既落入专利等同范围、又与现有技术实质相同的情况,因此,只要被控侵权方案与这三份日文专利文献之一达到相同或者无实质性差异的程度,即不构成侵权,但反过来,即使被控侵权方案与这三份日文专利文献的差异很大,也无法得知是否落入挡板专利的等同范围,仍需具体分析。

    一审法院在审理现有技术抗辩时仅仅比较被控侵权物和现有技术的形态、结构,并未分析功能和效果,就得出存在实质性差异的结论,但在比较挡板专利和被控侵权物时,却不管二者在形态、结构上的明显差异,而认为它们在工作原理、方法上是一样的,这种大手笔与审理现有技术抗辩时的保守形成了鲜明的对比,也明显超出了等同判定应有的灵活度。
等同原则是专利权人的“矛”,现有技术抗辩是被控侵权人的“盾”,笔者认为,既然法院允许专利权人通过等同原则将专利权保护范围扩大到等同的程度,出于公平对等起见,也应当允许被控侵权人将现有技术扩张到同样的程度,总之,法院在审理等同侵权和现有技术抗辩时应该秉承相同的灵活性尺度,不能厚此薄彼。

结束语

    等同原则的核心在于防止他人盗用专利的发明实质,具体作法是将专利保护范围扩大到等同的技术特征,而不局限于权利要求的文义范围。然而,正因为突破了文义范围的限制,等同原则可能被滥用并由此伤害公众利益,所以必须对等同原则的适用范围有一个准确的把握。对于等同原则,世界各国不断地“绑定”一些辅助工具,如禁止反悔原则、捐献原则、现有技术抗辩,我国最近的司法政策也提出“慎用等同原则”【18】,这些都是出于公平考虑而对等同原则适用所做出的合理限制。

    和专利审查中的创造性评价一样,专利侵权程序中的等同判定在实务中也难以完全避免主观性和不确定性,等同范围的毫厘之差,会导致案件结论的黑白颠倒,所以,专利侵权判定应当结合目前国情和具体案情,合理、准确地确定专利保护范围,综合考虑等同原则及其限制工具的适用,实现专利权人和社会公众之间的利益平衡。

作者信息
    鹿士杰   国家知识产权局专利局材料发明审查部审查员
    毛习文   国家知识产权局专利局专利审查协作北京中心审查员
    宋献涛   北京律盟知识产权代理公司专利代理人
*******************************************************************************

一、版权及转载说明:
本文版权归思博所有,思博欢迎优秀媒体转载本篇文章,但请保留以下信息:
1、作者信息;
2、本文转载自思博知识产权网,同时标注原文地址。
二、欢迎优秀作者投稿:
1、思博针对优秀的原创首发文章支付稿酬,按照周热度进行月度排名,前五名可以获得稿酬,额度不高,略表心意;具体稿酬和支付规则请点击这里
2、投稿地址:tougao@mysipo.com  ,投稿时请附个人简介及照片。
三、关注我们的自媒体,获得更多优秀内容:
1、思博新浪微博账号:思博知识产权网
2、思博微信资讯账号:mysipo
3、思博专代考试微信号:agentexam

标签: 专利 侵权案 美的 格力


分享

收藏(10)

点赞(1)

举报

评论列表

  • 第1楼
    三个想不到,
    第一个想不到 这么简单的技术方案有这么大的市场,一审竟然能判赔95万;

    第二个想不到 这么简单的技术方案竟然都不能被无效掉;

    第三个想不到 无效程序中,有这么接近的对比文件,合议组竟然没有祭出绝招“本领域技术人员的常规技术手段”,而是严格按照字面是否有技术启示来判定。

    2014/07/24 13:09 [来自浙江省]

    0 举报
  • 第2楼
    赞同 第三个想不到

    2014/07/24 13:47 [来自河北省]

    0 举报
  • 第3楼
    权利要求1中的“可拆装”被二审法院认定为挡板中的固定板和滑动板相互之间的拆卸/装配,这实际上是理解错误

    2014/07/24 16:27 [来自北京市]

    0 举报
  • 第4楼
    首先要赞一下帖子写的很有技术含量,而且案例涉及的技术也老幼咸宜,感觉有进十大的潜力。
    至于二楼的三个想不到,我觉得在格力和美的如此大的市场份额中,赔偿额并不是很夸张;而后两个想不到个人认为基于主贴的行文风格(法律讲解到位而技术讲解粗陋),还是需要阅读原始的专利文献才更有说服力,感觉可拆装到底什么意思需要说明书的印证。

    2014/07/24 16:47 [来自上海市]

    1 举报
  • 第5楼
    醍醐灌顶~!!是我肯定也写成滑动板,至于可拆卸的那个,我确实没有看出到底指代谁和谁为可拆卸。。

    2014/07/24 17:49 [来自北京市]

    0 举报
  • 第6楼
    xiaoniao3213: 首先要赞一下帖子写的很有技术含量,而且案例涉及的技术也老幼咸宜,感觉有进十大的潜力。至于二楼的三个想不到,我觉得在格力和美的如此大的市场份额中,赔偿额 ...



    部分同意楼上的看法。
    我认为本文作者在对技术不了解的同时,也未对无效过程中的对比文件进行详细分析。这直接导致本文出现“故不存在被控侵权产品既落入专利等同范围、又与现有技术实质相同的情况”等断章取义的看法。建议大家看一下无效宣告中3篇对比文件和涉案产品的区别。
    个人认为,如果一审法院认定“全面覆盖”而非等同侵权,二审翻案的可能性反而降低。在专利基础上增加特征带来的其他效果,在二审中变成了与涉案专利不同的依据,完全违背了全面覆盖的立法宗旨。
    另外,可拆卸的特征在无效过程中双方均进行了重点阐述,但本文作者却对该特征似乎选择性忽略,不得不说有点遗憾。

    2014/07/24 20:06 [来自广东省]

    0 举报

快速回复