本帖最后由 馋洋洋 于 2020-8-12 17:10 编辑 关于附图说明和附图标记
在前面的几篇帖子中,已经介绍了外观专利的制作流程、专利图片的缺陷修复、不同软件之间的图片交互以及特殊视图的导出。
关于专利中涉及到的图片问题基本都已介绍,最后再讨论下附图说明和附图标记的问题:
说明书附图是实用新型专利的必要组成部分,绝大多数发明专利中也采用说明书附图,以对技术方案进行直观、形象地表达。
出色的附图说明和附图标记可以增强专利的可读性,使专利文件整体逻辑更加清晰。
下面主要从附图编号和附图标记两个方面进行讨论
一、附图编号
《审查指南》第一部分第一章4.3“附图总数在两篇以上的,应当使用阿拉伯数字顺序编号,并在编号前冠以“图”字,例如图1、图2。”
然而,在实际作业中,并非局限于仅采用阿拉伯数字对附图进行编号。有时,附图编号采用阿拉伯加字母的编号形式,可以起到强调附图之间的互联关系的效果,如:
当某几个连续的附图依次属于制作流程中对应的几个加工步骤时;
当某几个连续的附图都是对产品中某一相同部件的不同视图表达时;
当某几个连续的附图是对不同技术方案的实验效果的对比时。
。。。。
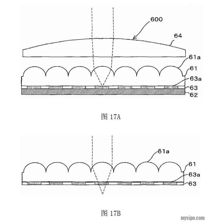
当多个连续的视图之间存在类似的互联关系时,可以对这几个附图采用同一阿拉伯数字加字母的编号方法,如图1A、图1B。如下例所示(CN103492944):


二、附图标记
《审查指南》第一部分第一章4.3“附图标记应当使用阿拉伯数字编号。说明书文字部分中未提及的附图标记不得在附图中出现,附图中未出现的标记不得在说明书文字部分中提及。”
对于技术特征较少的附图,可以采用10、20、30、40。。。进行简单标注。当附图中技术特征较多且技术特征之间存在一定的关系,在进行附图标注时,可以从技术特征之间的层次关系、技术特征的虚实、标注样式、辅助标注信息等几个方面考虑提升附图标记的可读性。
简单做个示例介绍下:
结合上面的示例,展开介绍下技术特征之间的层次关系、技术特征的虚实、标注样式、辅助标注信息的具体含义。
1、技术特征之间的层次关系
技术特征之间的层次关系包括很多,如:整体与部分(桌子1包括承载台10和支撑部20)、上位与下位(支撑部20为上位概念,第一支段210、第二支段220和基座230为对应的下位概念)以及附属关系等(第一支段210上设有凸筋211)。
上面的示例中,应用了附图标记的位数、数字间关系、括弧等来传达技术特征间的层次关系:
桌子1包括:承载台10和支撑部20。
支撑部20包括:第一支段210,第二支段220和基座230。
第一支段210上设有凸筋211。
2、技术特征的虚实
技术特征的虚实可以理解为技术特征是实体还是虚体。
如上面的示例中,桌子1、承载台10、支撑部20、第一支段210、凸筋211、第二支段220、基座230等均为实体技术特征。而槽体T1,第一排水孔h1和第二排水孔h2则为虚体技术特征。
在标注实体技术特征时,可以采用纯阿拉伯数字的标注方式进行标注(桌子1、承载台10、支撑部20、第一支段210、凸筋211、第二支段220、基座230);在标注虚体技术特征时可以采用字母加阿拉伯数字的标注方式进行标注(槽体T1,第一排水孔h1、第二排水孔h2),以便于清晰辨别附图中技术特征的虚实。
3、标注样式
标注样式包括引线的样式和上面所述的标号的样式。对于附图标记中的引线,应采用便于与附图中的结构线明显区分的线条,以避免与结构之间的混淆干涉。如上面的示例中,附图中的结构大多为直线,则标注线可以采用样条曲线;而对于结构线为曲线的附图,则可以采用直线引线。
另外,为了便于区分被标注技术特征的虚实,还可以采用上面的示例中:对实体技术特征仅采用引线引导,而对于虚体技术特征则采用箭头加引线的方式进行引导。
4、辅助标注信息
在附图中添加辅助标注信息,可以使附图更便于读者观察和理解,同时有助于说明书中对技术特征的方位关系、流动方向、运动方向等的描述。
如上面的示例中,可以通过添加上下左右前后的方向线作为辅助标注信息。
在涉及流体的流动、电流的传导、装配方向、运动方向等也可以通过添加对应的箭头指向来作为辅助标注信息进行标注。
另外,在标注时,也可以采用隔位标注法,以避免后续检查中发现漏标的技术特征需要补充而难以标注的问题。
如下例所示的方法流程图中:
步骤标号采用:S102、S104、S106,采用隔位标注的方式便于后续在两个步骤之间增加步骤,如可以在步骤S102与步骤S104之间增加步骤S103。
总结:
从技术特征之间的层次关系、技术特征的虚实、标注样式、辅助标注信息、隔位标注等几个方面考虑提升附图标记质量。
学海无涯苦作舟
2020/08/12 08:52 [来自安徽省]
0 举报清亦华枫
2020/08/12 17:53 [来自北京市]
0 举报江郎
2020/08/13 07:52 [来自湖北省]
0 举报xuehulong
2020/08/13 08:13 [来自河南省]
0 举报snipermx
不是拆台。个人也很赞同根据附图的内容,采用类似“图17A”、“图17B”、“”图17C“的标记。
但是类似“图17A”、“图17B”、“”图17C“的标记,不符合细则第十八条的规定“发明或者实用新型的几幅附图应当按照“图1,图2,……”顺序编号排列”。审查员是否根据这一点要求补正,完全随缘。
建议还是严格按照顺序标注。
2020/08/13 09:21 [来自广东省]
2 举报leey123
对,最好按着顺序来
2020/08/13 09:25 [来自安徽省]
0 举报