手机防摔安全气囊
发布时间:2011.08.16 广东省查看:7599 评论:11

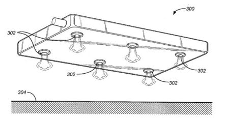
大多数人都经历过不小心将手机掉在地上的情景,不过如果这项专利投入生产的话,您就再也不必担心手机被摔坏了。这一系统利用智能手机中的加速计(即微机电系统传感器,具有测算加速度,帮助切换屏幕方向等功能)来判断手机是否处于跌落状态,一旦接收到警报信号,系统将启动微型喷射装置减缓下落过程,并弹出安全气囊,让手机可以安全“着陆”。不过,对于已经选择了价格偏高的智能手机的消费者而言,会不会再对手机的安全防护进行“**”,也是值得考虑的问题。
评论列表
快速回复
elle
[7]思博铁粉
主题:330 回帖:1378 积分:5199
热帖推荐
lingrain
2011/08/16 13:01 [来自广西壮族自治区]
0 举报店小二
现在手机最求轻、薄,贴膜都嫌麻烦,还弄个气囊~
2011/08/16 16:58 [来自湖北省]
0 举报dragonpatent
2011/08/17 08:03 [来自浙江省]
0 举报刘艳
2011/08/17 08:40 [来自上海市]
0 举报elle
2011/08/17 12:50 [来自广东省]
0 举报李融之
2011/08/17 13:06 [来自北京市]
0 举报