万物皆可折叠,宝马折叠方向盘专利曝光!
发布时间:2020.04.07 北京市查看:1959 评论:2
近几年,似乎汽车行业都很爱研究自动驾驶汽车,这让不少车迷们感到好奇,非常想知道他们究竟会研究出什么样子的车。
通过各种专利图和概念图,以及车企展示的实体车来看,自动驾驶似乎并没有我们想象中的那样安全,所以直到现在还没有任何一家车企能给大家带来满意的设计。
尽管更安全的自动驾驶汽车还未被制造出来,但已经有企业对自动驾驶方向盘动了心思。

最近有外媒报道,宝马公司似乎正在为自动驾驶车辆研发一款能切换形态的“折叠式方向盘”,这或许会颠覆我们对方向盘的认知。
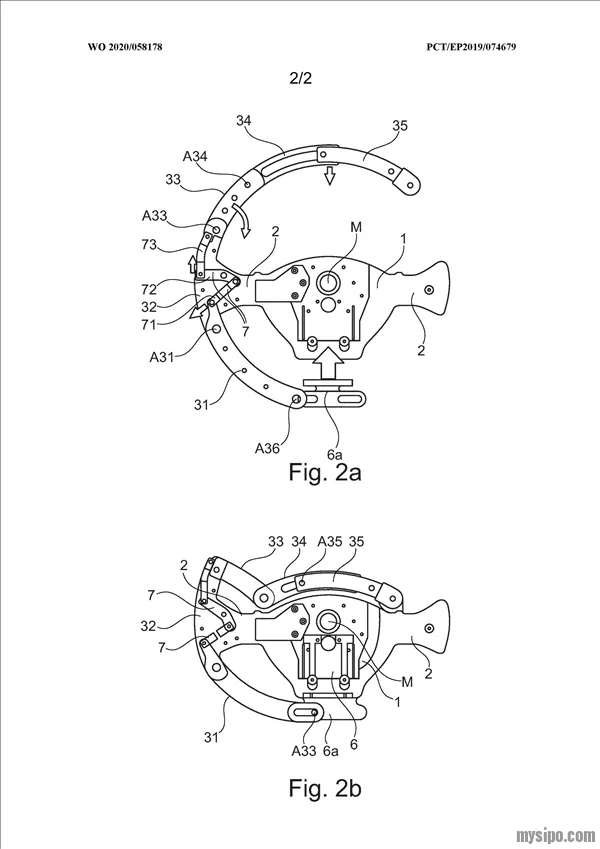
在国外一宝马论坛上(BMW X2 Forum),一位不愿意透露姓名的网友发布了两张图纸,称这是宝马公司近期已经申请的专利技术,此项技术可以让方向盘在圆形和椭圆形之间切换。
继手机、电脑等折叠式电子产品后,方向盘也要被折叠起来了吗?
这真是:

这让蜗牛安很难想象得出,方向盘怎么折叠,又如何让驾驶员使用。
从下方专利图中可以看出,这款方向盘设计颇为紧凑,一旦车辆接管操控后,可为主驾驶提供更多的膝部空间。

据悉,这款革命性的设计通过改变驾驶员手中方向盘的形状,从而提醒驾驶员车速过快,而非使用语音警示或音频通知。
对此,宝马粉丝网站BMW X2 Forum有一些推测,他们认为这款折叠式方向盘可以在驾驶员操作时就改变形状,与语音或声音提醒相比,能够以更快速度地向驾驶员传递警示信息,从而可提高驾驶安全性,降低碰撞风险。
这个推测有点靠谱,不过目前宝马公司对这款新型方向盘的动向仍旧守口如瓶,也未透露是否计划在量产车中引入该款方向盘,但可以肯定的是,宝马公司研发的折叠式方向盘展示了他们对自动驾驶汽车发展的横向思考。
蜗牛纳本以为宝马公司是第一家研发折叠方向盘的车企,事实证明蜗牛纳真的是见识太少了,通过搜索资料才发现早就有其他车企申请了此类专利。
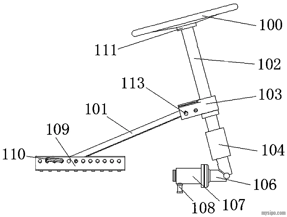
2018年,美国专利商标局曾公布了一项福特公司的专利应用——折叠式方向盘,该系统本身的设计十分直观,方向盘内装有铰链(hinges),折叠后可作为笔记本电脑的支架。
从下方专利图所示的原理上看,这个设计似乎比宝马公司的还简单一些。

该专利应用还提到,若有人提前抵达会议现场,完全可以坐在车内先行处理手头工作。若需要将方向盘折叠为笔记本电脑用支架,该操作也十分便捷,只需折叠并将前排座椅向前靠近些即可。
虽然该款方向盘应用是针对自动驾驶车辆设计的,但在未来这类车辆可能不会配置它,因此这类应用更关注短期应用效应。
国外车企居然这么早就开始研发了,即便人家申请的折叠式方向盘专利并不一定会应用到自动驾驶汽车上,但却可以为了防止业内同行而抢先申请,这大概也是福特公司申请此项专利的目的吧。
当然,咱国内的企业也有极强的专利保护意识。
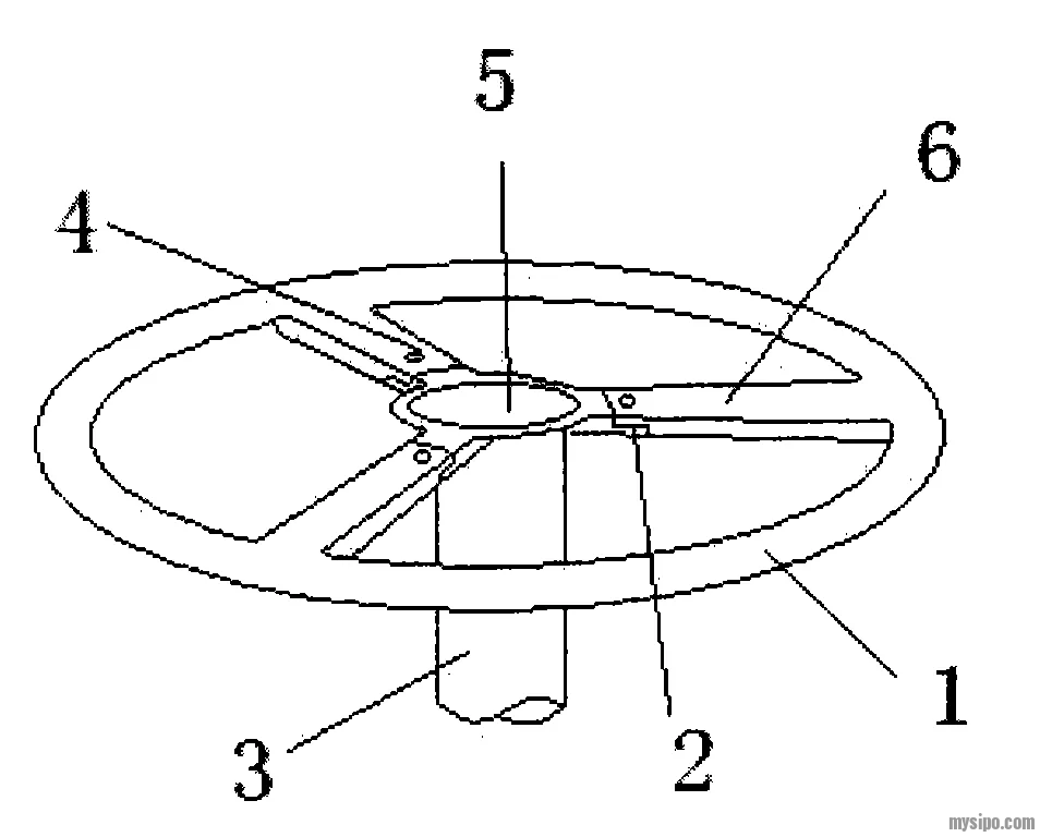
且不管是否用在自动驾驶汽车上,单从专利检索出的结果显示,早在2001年5月就已经有人申请了“折叠方向盘”。

该实用新型专利是由相互对接的上、下两个半圆环构成,上半圆环与中心挡板连接,两半圆环在相对接处铰接。结构上简单、实施容易,能让司机上、下车时有合适的空间,给驾驶员带来很大方便,从而让驾驶员充满信心、精力去工作。
还有的人为了避免在车辆在发生交通事故时,因方向盘卡住司机给抢救工作带来的诸多麻烦,故而申请了一项名为“便携安全折叠方向盘”的新型实用专利。

该专利不仅便于拆装、利于携带,还可以起到安全防盗作用。
蜗牛纳注意到,某机器人公司申请的“一种电子式折叠方向盘”专利也很有意思。

该专利采用电信号控制,由转向装置上的转向传感器传输信号,再由控制器根据接收到的信号进行相应动作。由于不采用机械式连接,使得电子式折叠方向盘更为灵活,可以根据不同的车辆类型灵活设置电子式折叠方向盘。
这种电信号控制的电子式折叠方向盘相对于传统的机械式连接的方向盘,结构简单,控制可靠,维护成本低,同时满足了无人驾驶车辆对方向盘的隐藏需求,还减少了运输和储藏体积,方便储运。

这要是蜗牛纳,绝对想不到方向盘还可以那样折叠。
就目前而言,为汽车方向盘做出新设计的人比较少,更别提与此相关的专利申请量了。
这大概是因为他们都知道,在短期内想实现完全自动驾驶的目标有些困难,不能抱太高的期望,毕竟如今全球车企都把精力及预算放在电动车及高能效版发动机的研发之中,没有多余的心思去想其他事情了。
更何况,自新冠肺炎疫情在全球爆发后,世界各地的汽车工厂都将面临关停或放缓的困境,而自动驾驶技术成本较****又小,最终落地时间也许会进一步推迟。
不过,蜗牛纳认为随着自动驾驶技术的不断发展,会有越来越多车企尝试弱化方向盘的存在感。
譬如说大众在2018年推出的一款概念车,由于在它的设定上,自动驾驶技术已经达到了足够高的水平,所以它的座舱内部直接取消掉了方向盘的设计,中控台上除了一圈弧形的屏幕以外,什么都没有。

由此可见,或许在未来,市场上会推出不需要方向盘的高科技汽车了。
没有方向盘,也没有油门和刹车的汽车,你敢坐吗?
评论列表
快速回复
北京纳杰知识产权
[7]思博铁粉
主题:540 回帖:821 积分:15815
热帖推荐
lledu
2020/04/07 19:52 [来自福建省]
0 举报lovemoon163
那万一开小差……
2020/04/08 11:06 [来自北京市]
0 举报