加载中...
推荐位 推荐位

夺笋呐,这都能抢注为商标?!

发布时间:2021.01.29 北京市查看:1976 评论:6

近日,据企查查数据显示,“迷人的郭老师”语录“夺笋”已被松原市某网络科技公司、自然人郭某某申请注册成商标,申请日期分别为2020年10月27日和12月31日,国际分类涉及广告销售、教育娱乐、通讯服务,且这3件商标状态均为“商标申请中”。


据悉,“夺笋啊”原意为“多损啊”,出自网络主播“迷人的郭老师”,由于郭老师谜之口音将其读成了“夺笋啊”。

这次申请的商标仅有“夺笋”二字,可能是觉得后面的“啊”有些多余,因而没有加上这个语气词。

所以,“迷人的郭老师”是谁呢?

她是一位某直播平台的网红主播,平时经常大大咧咧,常常会说一些让人觉得匪夷所思却又引人发笑的话,再配上她使用的那些独特的发音,就形成了个人风格极强的口音。

网上关于这位主播的表情包还不少,甚至某平台的剪刀手们还做了与“迷人的郭老师”相关鬼畜视频,也不知道她算不算是通过黑而红了一把的主播。

说起来,在郭老师的经典语录中还有另一个词汇“集美”,曾在去年陆续上榜了2020年百度沸点年度流行语、2020年度十大热词等榜单。

虽然同样注册为商标,但由于我国福建省厦门市所辖的一个区——集美区太有名了,因此更多的申请人主要是想将这个地方名称注册为商标,毕竟带有地名的产品更容易给消费者带来较深的品牌印象。

再者,就算“集美”入了2020年十大热词排行榜中,大家可能还是会下意识认为是在说厦门市集美区。所以真正将它作为热词商标使用的人,应该比我们想象中的要少很多。

脱口而出的一句话被网友当梗玩的也不仅是郭老师语录,那个曾经自称混元形意太极门掌门马保国,因其嘴硬、不服输的语录火爆全网,激发了某平台视频创作者的创作热情。后来马保国经典语录之一的“耗子尾汁”于去年11月11日被人申请注册为商标,国际分类为35类广告销售。此外,陕西某商贸公司申请注册了多条“马保国”商标。


为了蹭到一波热度,什么语录火就注册什么商标名,于是,就有了这些让人啼笑皆非的商标注册名。蜗牛纳也是服了这些申请人的行动力了,果然从商的都不是一般人啊,一般谁会想到这些刚火没多久的词语能当商标使用呢?

不得不说,网络真的很能影响一个人,本是意义不明的、或是带点口音的一句话,在经过名人、网红效应和网络的传播,不仅变得生动有内涵起来,甚至还能作为商标使用,这真是让蜗牛纳不得不感叹当今网络的强大,人们的思维因此变得更加活络起来。

虽然这些网络名句的传播面很广泛,但在现实中的网友们可能不会吃这一套,而且一个弄不好,或许还会收到律师函和法庭传单。一旦打起官司来铁定要劳神费力,若是赢了倒还好,就当做是打了一波广告;若是败诉了,那么面临的将是高额的赔偿费。

另外,把网络热词注册为商标确实可以在较短的时间内提高商家的知名度,但由于大多数网络热词的含义不够高雅,有基于娱乐氛围而产生的,若利用网络热词来申请商标的话,在谋取利益的同时,也要承担着巨大的风险。

要知道在申请注册商标的时候,应注意语言风俗,避免使大众产生不好的联想,否则最终会因为“缺乏显著性”或是对社会“造成不良影响”等理由被商标局驳回,从而导致商标无法注册。

图源 PIXABAY

当然,有极强商标保护意识的名人或网红会在第一时间将自己的经典语录或是简单的一句口头禅注册为商标,毕竟出于他们自身积累的庞大粉丝群体和市场影响力,一句简单的话也会成为广大群体中备受关注的热点信息。

比如在直播界有着“口红一哥”称号的李佳琦。出于“保护性注册”目的,为避免某些卖家恶意使用“买它”语录,误导消费者,于是由李佳琦作为第二大股东的上海妆佳电子商务有限公司,便于2020年4月7日将“oh my god,买它!买它!”申请注册为声音商标,并指定使用在第35类(广告宣传)的商品或有关服务上。


但该商标已经被驳回,可能和这两个原因有关,一是缺乏显著性;二是这个申请里的词汇可能有不良影响。

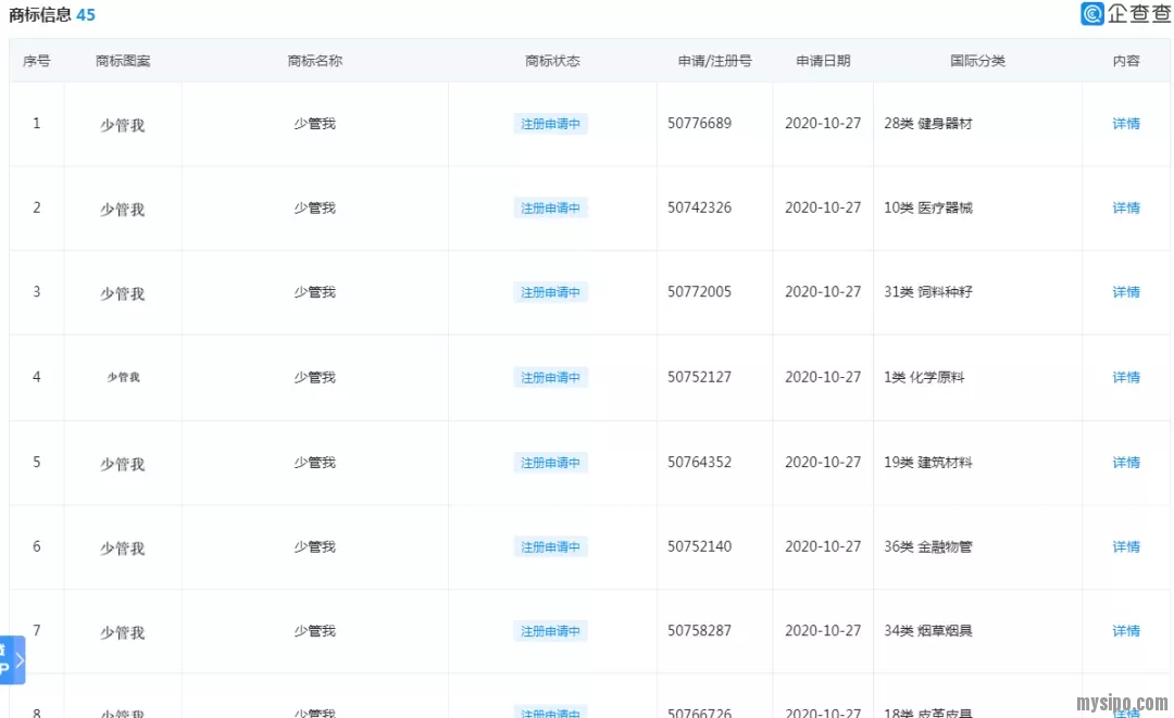
同样主动申请商标注册的人中,还有歌手周深。2020年10月27日,由周深持股95%的上海劲焱文化传媒有限公司递交了45件“少管我”商标的注册申请。


可以看到,对于“少管我”商标,周深方面一开始就直接进行了全类别的注册,品牌商标的保护意识可以说是非常到位了。

包括国外篮球明星詹姆斯也将自己的3句很有代表性的话“Just A Kid From Akron”(阿克伦之子)、“Nothing is given,Everything is earned”(付出才有收获,一切只靠争取)、“Taco Tuesday”(周二吃墨西哥玉米饼)注册成了商标。

不难看出,现在越来越多的名人、网红都在注册商标,可想而知他们及团队的商标保护意识是愈发鲜明了,而将自己脱口而出又火遍全网的金句注册为商标,也是防患于未然。一方面有利于日后独创品牌的打造和推广运营,另一方面能从根源上有效避免日后再遭“有心人”的恶意抢注,从而给自身名誉带来负面影响。

不过,在通过注册商标来保护品牌时,还是很需要严格按照法律规定,对品牌商标名称做好设计和选择,并从长远发展的角度上,切实结合自身实际情况做好商标类别的布局和规划,以便能及时对核心商标展开注册。

尤其要注意是否具备商标应有的显著特征,又是否属于“低俗用语”或是存在有害于社会主义道德风尚、有其他不良影响等情形,否则商标申请人稍有不慎便会遭遇商标被驳的尴尬。

总之,无论是名人、网红还是他们团队或经纪公司,一定要及时申请商标,做好自己的品牌定位与知识产权保护,这样才能在维权自家品牌的过程中,将相关损失降至最低。

标签: 商标抢注 夺笋


分享

收藏

点赞

举报

评论列表

  • 第1楼
    为了夺眼球啊

    2021/01/29 11:28 [来自北京市]

    0 举报
  • 第2楼
    你才是标题党,强行将“申请”解释为“注册”。:@

    2021/01/29 14:09 [来自广东省]

    0 举报
  • 第3楼

    是呀,这样的“金句”被作为商标抢注的情况也不少见了

    2021/02/01 10:32 [来自北京市]

    0 举报
  • 第4楼
    stan2 发表于 2021-1-29 14:09
    你才是标题党,强行将“申请”解释为“注册”。

    原来标题还必须要完整的打出来:“某某商标被人抢先申请注册为商标……”,如果不完整就是标题党,是要被骂的?好的,在下受教了

    2021/02/01 10:38 [来自北京市]

    0 举报
  • 第5楼
    不知道是不是自己写的,如果是搬运的最好注明出处

    2021/02/01 11:02 [来自北京市]

    0 举报
  • 第6楼
    13683092489 发表于 2021-2-1 11:02
    不知道是不是自己写的,如果是搬运的最好注明出处

    他人申请注册夺笋商标,这是我刷微博看到的,网上很多媒体也报道了,别的商标注册信息是旧新闻,我嫌上网挨个搜资料麻烦,所以都是从自己以前发的文里找出来的。

    2021/02/02 10:56 [来自北京市]

    0 举报

快速回复