加载中...
推荐位 推荐位

关于“靠近”一词的使用

发布时间:2019.03.11 四川省查看:3913 评论:18

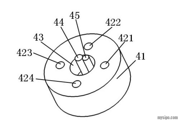
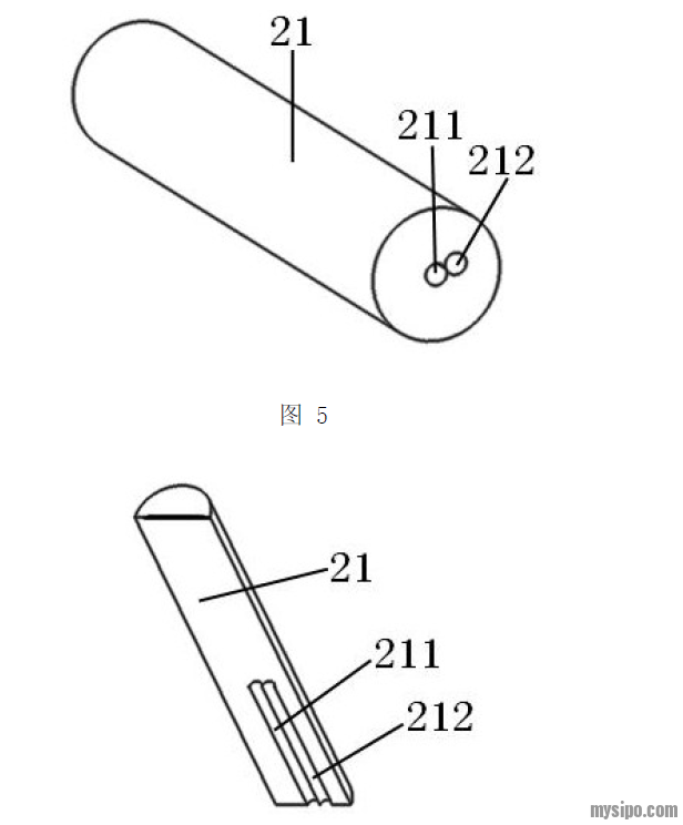
近日学习专利,在一篇2016年申请,2019年授权的发明专利中,看到权利要求中采用如下描述“第一支柱44与第二支柱45是紧挨着的”,“第一定位模孔211与第二定位模孔212紧挨着”,想问小伙伴们对于“紧挨”这一词的看法,准确或不准确?或者什么情况下准确或不准确?附图如下:




分享

收藏(2)

点赞(1)

举报

评论列表

  • 第1楼
    柱子紧挨着可以理解,孔怎么紧挨着呢?

    2019/03/11 16:55 [来自加拿大]

    0 举报
  • 第2楼
    都存在不清楚的问题,但是发明的审查对于这些问题一向.....不怎么重视

    2019/03/11 17:00 [来自广东省]

    0 举报
  • 第3楼
    我看有相当一部分的外国专利进入中国后,权利要求都会采用约等于,靠近这样的词语,但实际上有相当一大部分都会重新定义这个词的范围,如果不定义的话,那么保护范围是不清楚的,估计就很难做侵权判定了

    2019/03/11 17:08 [来自广东省]

    0 举报
  • 第4楼
    想问小伙伴们对于“紧挨”这一词的看法,准确或不准确?
    答:单纯看这个词,不准确,结合上下文和附图,能够无疑义理解,就是准确。

    或者什么情况下准确或不准确?
    答:权利要求是保护范围的界定,但是指南上通篇都在告诉你,需要以整个申请文件为整体来理解和解释权利要求,尤其是实用新型,更要结合附图和说明书,以本领域一般技术人员的角度来整体理解。所以在整体理解的情况下,没有疑义即可以写进权利要求书中。

    如题主的例子,如果说明书中写有“第一定位模孔211与第二定位模孔212的孔径相切,或者第一定位模孔211与第二定位模孔212之间的距离略微大于两孔相切的距离,使得两孔形成紧挨的结构”之类的话,就再好不过了,即使没有这种话,但是通过附图也可看出“紧挨”的意思是相互靠近,且根据全文可以理解“第一定位模孔211与第二定位模孔212紧挨”并不包括两孔孔径相交的形式(这样两个孔实际形成了一个异型孔)等等,这样,即使审查员挑毛病也是可以答复的。

    最后,不知道题主是不是新学专利,所以找授权的实用新型来看,说实话,有些实用新型专利虽然授权公开了,但是撰写质量确实不行,但是根据当时当刻的审查尺度情况还是授权了,并不奇怪,这也是为什么一定要引入专利无效这一程序。不同时不同刻对法条的理解和使用都会有微妙的差异。

    2019/03/11 17:16 [来自河南省]

    4 举报
  • 第5楼
    macwolf2086 发表于 2019-3-11 17:16
    想问小伙伴们对于“紧挨”这一词的看法,准确或不准确?
    答:单纯看这个词,不准确,结合上下文和附图,能 ...

    我是觉得可能还是要重新用具体的参数来定义这个范围会比较好,你说略微,那么略微是多大多小呢?我觉得还是会存在不够清晰的可能,能用参数定义这个略微或者紧挨,我觉得会好一点。但这只是我个人看法啦,不知道对不对

    2019/03/11 17:26 [来自广东省]

    0 举报
  • 第6楼
    macwolf2086 发表于 2019-3-11 17:16
    想问小伙伴们对于“紧挨”这一词的看法,准确或不准确?
    答:单纯看这个词,不准确,结合上下文和附图,能 ...

    哇,谢谢友友解答,我自己是做了一年多的代理人了,平时会找一些别人写的专利来看看学习一下,今天是要写一个模具的专利,不知道该怎么描述,所以搜了一篇别人的专利,想学习一下,这篇专利是我用模具作为关键词找到的,看到这个描述时,我想着如果是我的话,这种结构会写成:包括定位模孔,定位模孔是由第一模孔和第二模孔构成的8字形孔,以避免采用“紧挨”这样的描述,所以想看看大家的意见,但是看到友友提供的“孔径相切”,感觉又简洁又准确,好棒呀!又学到东西了呢!

    2019/03/11 17:32 [来自四川省]

    0 举报

快速回复