速来围观,谁能解释一下这个专利咋死的这么奇葩?
发布时间:2020.03.26 北京市查看:8534 评论:25
CN202844412U 一种悬吊器
https://www.incopat.com/detail/init2?formerQuery=PrtJR6dtOROoQjW+Nog/XWr4kAd0KKkg&local=zh
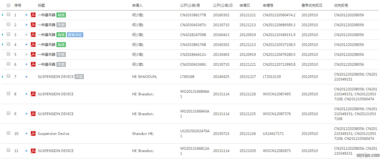
这个专利共有6个中国同族,其中发明专利 CN102824709B 一种悬吊器 是其同日申请的发明专利。
具体的时间轴信息及其他信息见附件。
问题:
1、这个实用新型为什么被放弃了三次?
2、放弃若干年后又收到了缴费通知书。目前的法律状态是未交年费终止。这个专利到底是怎么死的?
附件:
1、时间轴
2、授权发明和实用新型的权利要求对照
3、实用新型法律状态
4、审查、缴费、发文信息
5、这个专利的同族专利信息
https://www.incopat.com/detail/init2?formerQuery=PrtJR6dtOROoQjW+Nog/XWr4kAd0KKkg&local=zh
这个专利共有6个中国同族,其中发明专利 CN102824709B 一种悬吊器 是其同日申请的发明专利。
具体的时间轴信息及其他信息见附件。
问题:
1、这个实用新型为什么被放弃了三次?

2、放弃若干年后又收到了缴费通知书。目前的法律状态是未交年费终止。这个专利到底是怎么死的?

附件:
1、时间轴

2、授权发明和实用新型的权利要求对照

3、实用新型法律状态

4、审查、缴费、发文信息



5、这个专利的同族专利信息

评论列表
快速回复
gevered
大版主
[未知属地]
主题:20 回帖:173 积分:3486
大漠醉红尘
2020/03/26 14:41 [来自北京市]
0 举报黑娃
2020/03/26 14:44 [来自福建省]
0 举报wang3807
2020/03/26 14:46 [来自日本]
0 举报心何以静
2020/03/27 08:01 [来自广东省]
0 举报123犯困了
2020/03/27 15:58 [来自上海市]
0 举报Clong-ZL
2020/03/28 09:16 [来自山东省]
0 举报